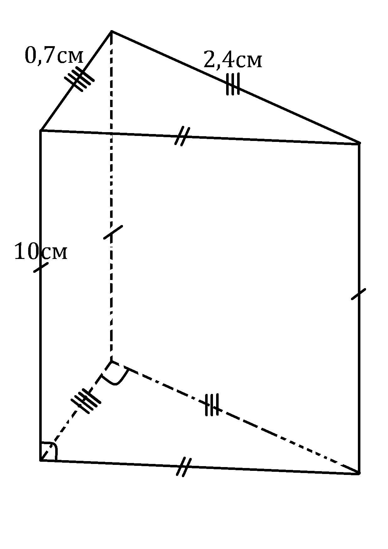
Основание прямой треугольной призмы является прямоугольный треугольник с катетами 0.7 см и 2.4 см , боковое ребро призмы ровно 10 см. Найдите площади боковой и полной поверхности призмы.
Ответы
Ответ дал:
27
В прямой призме боковые грани это прямоугольники.
Найдём по теореме Пифагора гипотенузу прямоугольного треугольника из оснований.
см
Площадь боковой поверхности найдём как сумму площадей прямоугольников:
S(бок.) = 10·0,7 + 10·2,4 + 10·2,5 = 10·(0,7+2,4+2,5) = 10·5,6 = 56 см².
Площадь одного основания найдём как площадь прямоугольного треугольника, через катеты:
см²
Тогда S(осн.) = 0,84·2 = 1,68 см².
S(пол.) = S(бок.) + S(осн.) = 56+1,68 = 57,68 см².
Ответ: 1,68 см² - площадь боковой поверхности; 57,68 см² - площадь полной поверхности.
Приложения:

Вас заинтересует
2 года назад
2 года назад
8 лет назад