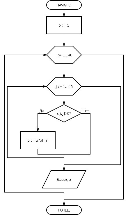
Разроботать блок схему для задачи: Определить произведение положительных элементов матрицы X (40,40)
Ответы
Ответ дал:
0
Блок-схема во вложении. Если нужен ввод элементов массива, то непосредственно перед ромбиком с if вставить ввод x[i,j]
Приложения:

Ответ дал:
0
СТОП!!!! Ошибка в картинке
Ответ дал:
0
какая?
Ответ дал:
0
Механическая. Сейчас исправлю, минута
Ответ дал:
0
Все
Ответ дал:
0
Блок вывода был этажом выше, съехал в программке рисования
Вас заинтересует
2 года назад
2 года назад
7 лет назад
10 лет назад
10 лет назад
10 лет назад