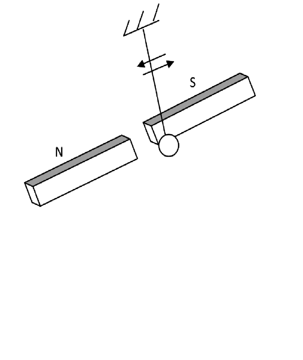
3. Маятник сделан из медного кольца, подвешенного на тонкой нити. Почему колебания
такого маятника быстро затухают, если траектория движения кольца проходит между
полюсами сильного магнита (см. рис.)?
Приложения:
Ответы
Ответ дал:
0
Маятник в магнитном поле будет нагреваться за счет вихревых токов, энергия нагревающая гирьку возникает за счет уменьшения потенциальной энергии гирьки.
ΔЕ = mgh. g=10м/c², уменьшение высоты найдем из тр-ка h=L*cosα = 1*cos60°= 0,5м
Q = cm(t2-t1), теплоемкость меди с = 385 Дж/кг*гр., t1=20°
mgh = cm(t2-t1)
t2 = mgh/cm + t1 = 10*0,5/385 + 20 = 0,013 + 20 = 20,013°
ΔЕ = mgh. g=10м/c², уменьшение высоты найдем из тр-ка h=L*cosα = 1*cos60°= 0,5м
Q = cm(t2-t1), теплоемкость меди с = 385 Дж/кг*гр., t1=20°
mgh = cm(t2-t1)
t2 = mgh/cm + t1 = 10*0,5/385 + 20 = 0,013 + 20 = 20,013°
Ответ дал:
0
Почему колебания быстро затухают?
Вас заинтересует
2 года назад
8 лет назад
10 лет назад
11 лет назад