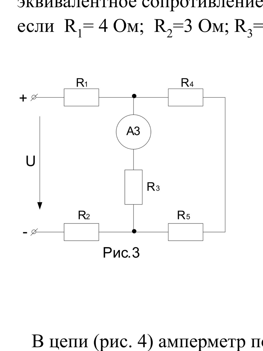
В цепи (рис 3) амперметр показывает ток I3=1 А. Определить напряжение U, эквивалентное сопротивление Rэкв цепи и мощность P, потребляемую цепью, если R1= 4 Ом; R2=3 Ом; R3=40 Ом;
R4=7 Ом; R5=3 Ом.
Приложения:

Ответы
Ответ дал:
0
Сопротивление ветви, содержащей R3=40 Ом, а ветви, содержащей R4 и R5 равно R4+R5=10 Ом. Ее сопротивление меньше в 4 раза больше, следовательно ток в ней будет больше в 4 раза I4=I5=I3*4=4 А. Тогда по 1 закону Кирхгофа общий ток I=4+1=5 А. По закону Ома общее напряжеине U=I*R=75 В, а мощность P=I*U=375 Вт.
Вас заинтересует
2 года назад
2 года назад
7 лет назад
10 лет назад
10 лет назад
10 лет назад