Ребят, очень срочно!!! Площадь прямоугольного треугольника равна 2 корня из 3. Найдите высоту этого треугольника, проведенную к гипотенузе, если она делит прямой угол в отношении 1:2
Ответы
Ответ дал:
0
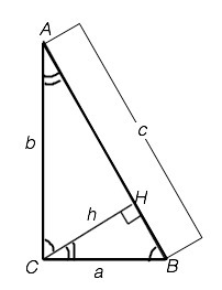
Высота делит прямой угол на 2+1=3 части. каждая по 90°:3=30°.
Меньшая часть= 30°, большая =60°
Высота прямоугольного треугольника к гипотенузе делит его на треугольники, подобные друг другу и исходному.
⇒ в ∆ АВС угол А=30° (см.рисунок).
Примем меньший катет равным а, он противолежит углу 30°, поэтому гипотенуза равна 2а ( свойство).
Второй катет АС=2а•cos30°=a√3
Площадь прямоугольного треугольника равна половине произведения катетов.
S=a•b:2
2S=a•а√3
4√3=a²√3⇒
a²=4,⇒ a=2
S (АВС)=AB•h:2
h=2S:2a=4√3:4=√3
Приложения:

Вас заинтересует
2 года назад
2 года назад
7 лет назад
7 лет назад
10 лет назад
10 лет назад
10 лет назад
10 лет назад