• Предмет: Информатика
  • Автор: Margo25071998
  • Вопрос задан 10 лет назад

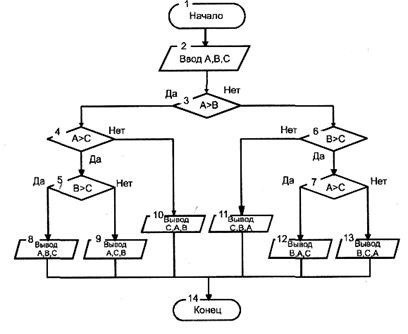
составить программу по блок схеме

Приложения:

Ответа на этот вопрос пока нет. Попробуйте найти его через форму поиска.

Вас заинтересует