• Предмет: Черчение
  • Автор: ruslankadyrov2013
  • Вопрос задан 2 года назад

Помогите срочно! До пятницы! Даю 99 баллов.
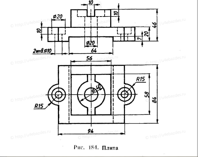
По чертежу детали выполните необходимые разрезы. Постройте изометрическую проекцию с вырезом (рис. 184).

Приложения:

ruslankadyrov2013: То есть, 50 баллов+25 баллов за лучший.

Ответы

Ответ дал: ruslanmagdenko
16
Рисовал примерно.. так что общая информация, характеризующая деталь и разрез есть, а размеры и масштаб не совпадают на 100 %, но очень близко...
Приложения:

ruslanmagdenko: дополнительных разрезов выполнять не надо, т.к. информации достаточно с главного вида
ruslankadyrov2013: СПАСИБО ОГРОМНОЕ!!!
Вас заинтересует