Ответы
Ответ дал:
0
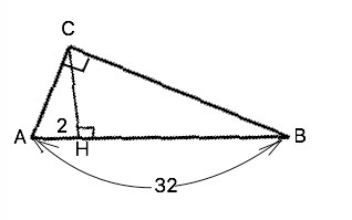
Катет прямоугольного треугольника есть среднее геометрическое (среднее пропорциональное) между гипотенузой и проекцией этого катета на гипотенузу. Гипотенуза АВ=32, проекция катета АС AH=2, ⇒ АС=√(32•2)=8 ед. длины
Приложения:

Вас заинтересует
2 года назад
7 лет назад
7 лет назад
9 лет назад
9 лет назад
10 лет назад