Прямоугольник со сторонами 8см и 6 см вращается вокруг одной стороны, потом другой. Объём какого тела больше?можно с рисунком
Ответы
Ответ дал:
0
В любом случае у нас получается конус.
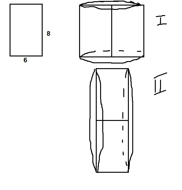
Извиняюсь, за кривость чертежа, но иначе не смог х)
В первом случае высота цилиндра равна 8, а во втором - 6.
Площадь круга в первом случае =
=
Площадь круга во втором случае =
=
Объём в первом случае =
= 
Объём во втором случае =
= 
То есть объём будет больше в том случае, если вращается вокруг меньшей стороны.
Извиняюсь, за кривость чертежа, но иначе не смог х)
В первом случае высота цилиндра равна 8, а во втором - 6.
Площадь круга в первом случае =
Площадь круга во втором случае =
Объём в первом случае =
Объём во втором случае =
То есть объём будет больше в том случае, если вращается вокруг меньшей стороны.
Приложения:
Вас заинтересует
3 года назад
3 года назад
8 лет назад
8 лет назад
10 лет назад
10 лет назад