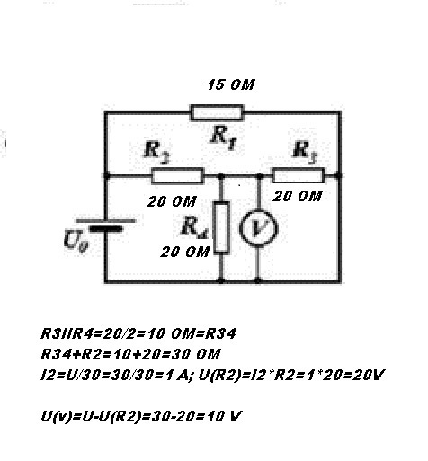
Что покажет вольтметр в схеме, изображенной на
рисунке? R1 =15 Ом, R2 =R3 =R4 =20 Ом. Напряжение
источника тока U0 =30 В. Сопротивление вольтметра
считать бесконечно большим
Приложения:

Ответы
Ответ дал:
0
Посмотрите рисунок с решением (U(0)=U)
Приложения:

Вас заинтересует
2 года назад
2 года назад
7 лет назад
9 лет назад
9 лет назад