Помогите пожалуйста!))))))))))))))) Найдите длину бокового ребра правильной четырёхугольной призмы,если её диагональ составляет с боковой гранью угол 30 градусов и имеет длину 7√2 см.
Ответы
Ответ дал:
5
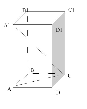
Дана правильная четырехуголная призма ABCDA1B1C1D1.
Угол АА1С=30 гр.
Проведем АС.
Рассмотри треугольник А1АС - прямоугольный.
Катет, лежащий напротив угла в 30 гр, равен половине гипотенузы.
АС = 7корней из 2 / 2
АА1^2 = A1C^2 - AC^2
AA1 = 7
Приложения:

Вас заинтересует
2 года назад
2 года назад
2 года назад
7 лет назад
9 лет назад