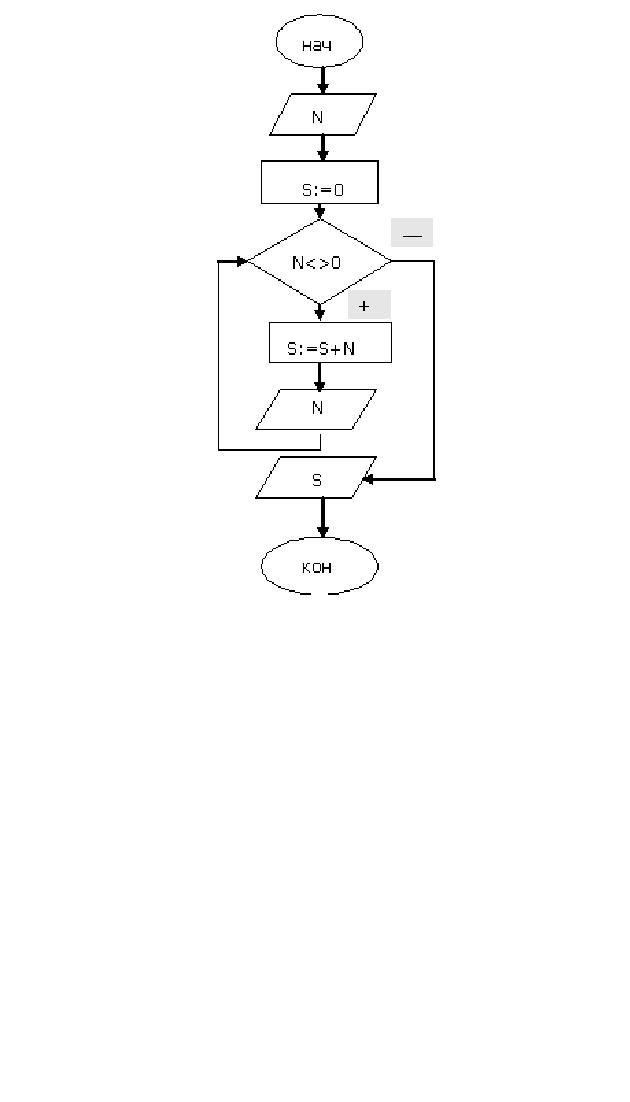
Запишите на языке Паскаль программу, соответствующую приведённой ниже блок-схеме и определить, что вычисляет данная программа:

Ответы
var
n,s: integer;
begin
s:=0;
readln(n);
while(n<>0) do
begin
s:=s+n;
readln(n);
end
writeln(s);
end.
Вычисляет сумму входящих слогаемых, если n <> 0.
Оператор s:=s+n в данном случаи определяет суммы последовательности чисел НЕ равных 0.(Знак <> обозначает "НЕ РОВНО")
Program q1;
uses crt;
var n,s:integer;
begin
clrscr; {очисти экран}
textcolor(lightgreen); {Придай тексту светло-зелёный цвет}
write('vvedi N'); {Выведи на экране 'vvedi N')
readln(n); {ВВеди n}
s:=0; {Ячейке S присвой 0}
while n<> do {Пока N не ровно 0
begin начни делать
s:=s+n; s присвой его начальное значение + то число, которое мы вели
writeln('vvedi N');
readln(n); Вводим N
end; Конец рабоиы цикла}
writeln(s); {Выведи на экран S};
readln; {показывай результат, пока не нажму кнопку ввода(enter}
end. {Конец программы}