Помогите структурировать данную программу на Pascal:
Program VKF;
Uses CRT;
Function f(x:Double):Double;
Begin
f:=2*x*x*x-3*x*x-12*x;
End;
Var
x, Eps,a,b,c:Real;
n:Integer;
begin
ClrScr;
Writeln('Введите значение a и b');
Read(a,b);
Writeln('Введите точность Eps');
Read(Eps);
n:=0;
Repeat
c:=(a+b)/2;
If(f(a)*f(c))<0 Then b:=c
Else a:=c;
Inc(n)
Until(b-a)<=Eps;
x:=(a+b)/2;
Writeln('Корень равен x=',x:10:7);
Writeln('Количество делений=',n);
ReadKey;
end.
Ответы
Ответ дал:
0
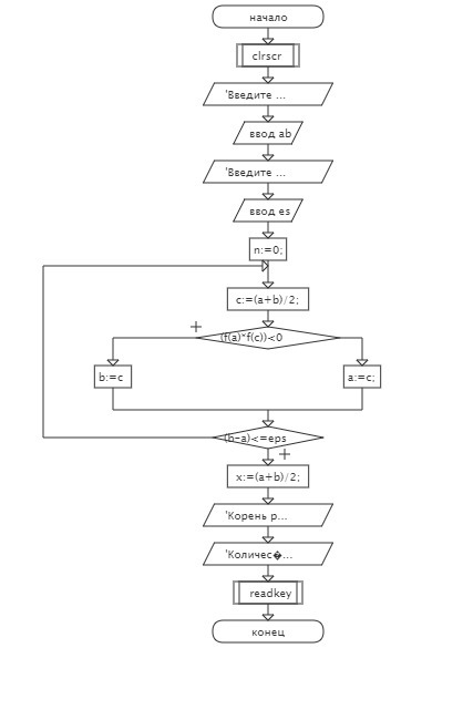
Вот на картинке, блок-схема к коду
Приложения:

Вас заинтересует
2 года назад
2 года назад
7 лет назад
9 лет назад
9 лет назад