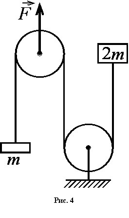
На гладком горизонтальном столе находятся два груза массой m=1 кг и 2m=2 кг, соединённые невесомой и нерастяжимой нитью, и два лёгких блока, один из которых (правый) закреплен, другой (левый) — нет. Нить переброшена через блоки (рис. 4).
На ось подвижного блока начинает действовать постоянная внешняя сила F=10 Н (рис. 4, вид сверху). Найдите ускорение блока. Ответ выразите в (м/c2), округлите до 0.01 и введите в поле ответа.
Приложения:

Ответа на этот вопрос пока нет. Попробуйте найти его через форму поиска.
Вас заинтересует
2 года назад
7 лет назад
9 лет назад
9 лет назад
10 лет назад