• Предмет: Физика
  • Автор: Joy789
  • Вопрос задан 11 лет назад

Народ, помогите мне,даю много пунктов!!!!!!!! Всего 2 задания по физике, прощу!!!!!!!!!!!! 
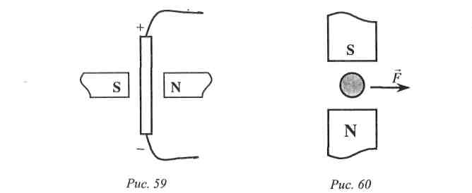
1 рисунок - 4 задание. С полным пояснением. 
2 рисунок - рис.59. С полным пояснением. 
Помогите получить 5 ) 

Приложения:

Ответы

Ответ дал: aniram909
0

4.1 Линии магнитного поля замкнутые, внутри магнита они идут от южного полюса к северному, а между полюсами от северного к южному. Поэтому S справа
К 59. изображен проводник с током, который идет от + к _, т.е вниз. Надо определить направление силы, действующей на проводник(сила Ампера). Применяем правило левой руки, ладонь левой руки поворачиваем к северу к N, четыре пальца по току- вниз, большой палец будет показывать от нас, перпендикулярно плоскости чертежа
Вас заинтересует