• Предмет: Черчение
  • Автор: keckush
  • Вопрос задан 2 года назад

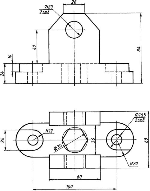
Выполните необходимые разрезы на чертеже опоры и ее изометрическую проекцию с вырезом. Помогите, пожалуйста!

Приложения:

Ответы

Ответ дал: Vladislav006
3
Деталь начерчена в масштабе 1:1 на формате А3
Приложения:

keckush: спасибо огромное!
Вас заинтересует