Ответы
Ответ дал:
1
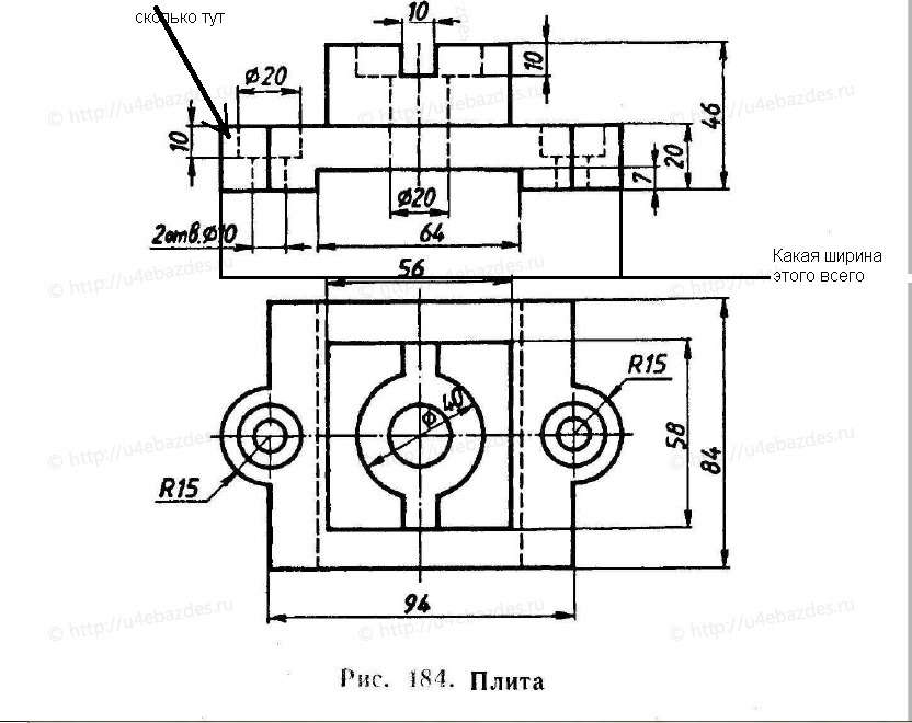
94+15+15 = 124 мм
94 - длина до осей
15 - радиус
94 - длина до осей
15 - радиус
Вас заинтересует
2 года назад
2 года назад
2 года назад
2 года назад
3 года назад
3 года назад
9 лет назад