РЫЧАГИ 1 ВОПРОС
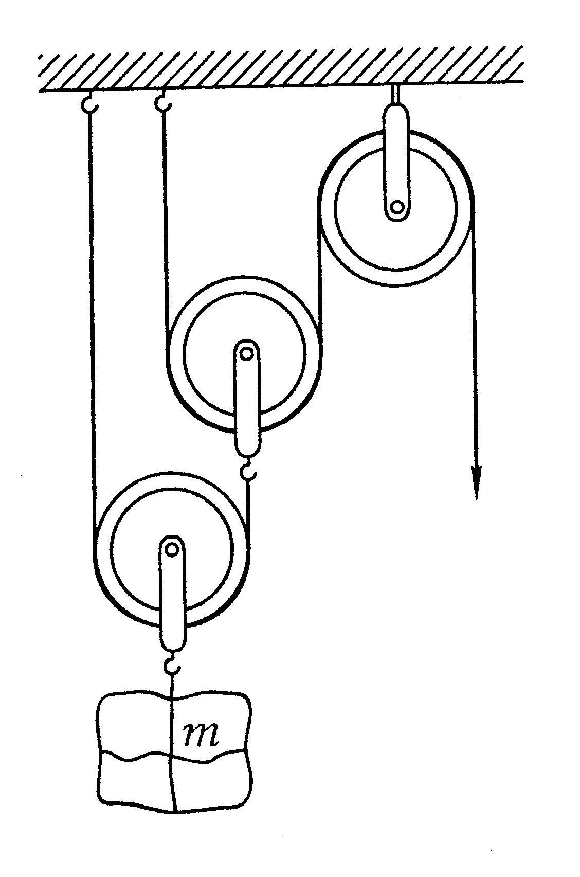
Какой(-ие) блок(-и) является(-ются) подвижным(-и)?
1) правый
2) левый
3) средний и левый
4) средний и правый
Приложения:
Ответы
Ответ дал:
0
Ответ 3
==========================
==========================
Вас заинтересует
2 года назад
3 года назад
3 года назад
9 лет назад
9 лет назад
10 лет назад