7 КЛАСС РЫЧАГИ 1 ВОПРОС
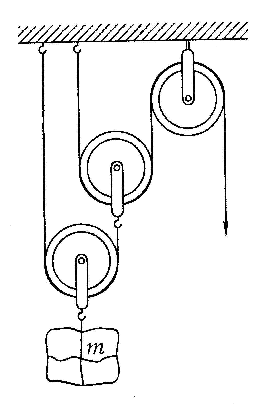
Какую силу нужно приложить к концу веревки, чтобы поднять груз массой 200 кг?
1) 1 000 Н
2) 2000 Н
3) 4 000Н
4) 500Н
Приложения:
Ответы
Ответ дал:
0
На рисунке 2 подвижных блока (левый и в середине). Каждый дает выигрыш в силе в 2 раза, значит общий выигрыш в силе 4 раза.
Вес груза P=m*g=200*10=2000 H
F=P/4=2000/4=500 H
Ответ 4
====================
Вес груза P=m*g=200*10=2000 H
F=P/4=2000/4=500 H
Ответ 4
====================
Вас заинтересует
2 года назад
3 года назад
9 лет назад
9 лет назад
10 лет назад