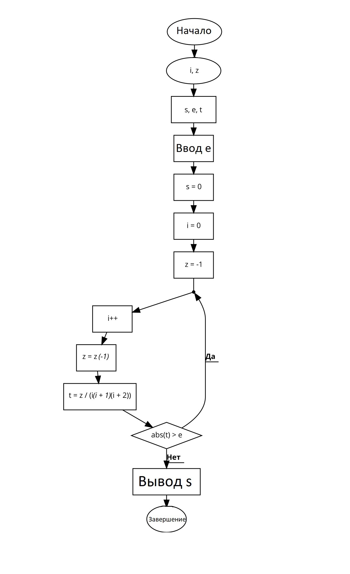
Сделайте к этой программе блок схему, пожалуйста!!!
#include "pch.h"
#include
#include
#include
#include
using namespace std;
int main()
{
setlocale (LC_ALL, "Russian");
double i, z;
float s, e, t;
cin » e;
s = 0; i = 0; z = -1;
do
{
i++;
z *= -1;
t = z / (i*(i + 1)*(i + 2));
} while (abs(t) > e);
cout « s « endl;
system("pause"); return 0;
Ответы
Ответ дал:
0
____________________
Приложения:
Ответ дал:
0
И еще, нормальной практикой в блок-схемах, реализующих вычислительные алгоритмы, является прямое написание математических формул, а не их линейных заменителей типа a^(b+sin(x-4))/(2x-Sqrt(2)). Лицо, читающее блок-схему, не обязано знать правила записи выражений в программировании, даже самые общеупотребительные правила. Но это уже из области не требований, а пожеланий.
Ответ дал:
0
Именно подобные "мелочи" отличают блок-схему, сделанную на "отлично" и на "хорошо".
Ответ дал:
0
В заключение, например, интерактивный ресурс draw.io позволяет достаточно быстро рисовать "правильные" блок-схемы и даже писать внутри их символов математические выражения в стандарте TeX. Сохранив один раз подобный рисунок, можно следующие разы его брать за основу, выдерживая общей стиль и размеры.
Ответ дал:
0
Спасибо.
Ответ дал:
0
Пожалуйста
Вас заинтересует
2 года назад
3 года назад
3 года назад
9 лет назад
10 лет назад