• Предмет: Физика
  • Автор: lera210415
  • Вопрос задан 8 лет назад

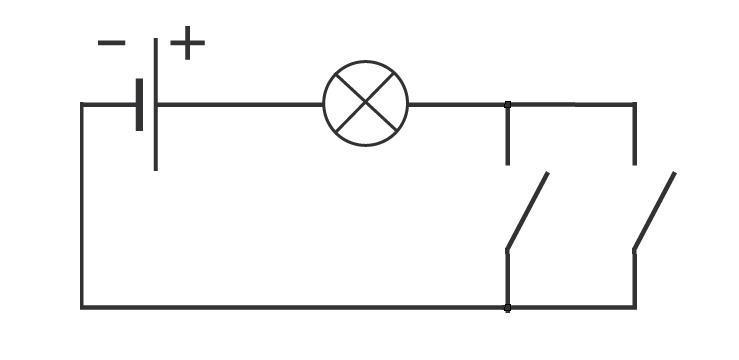
Составьте цепь из одной лампочки, двух ключей (выключателей) чтобы каждый ключ мог включить лампочку

Ответы

Ответ дал: Аноним
0

=решение=решение=решение=решение=решение

Приложения:
Ответ дал: lera210415
0
Спасибо:>
Вас заинтересует