Kто нибудь здесь знает техническую механику?
нужно это задание решить, пожалуйста помогите..
номер 33
Только
d - 7.
Jx, cм^4 - 7950.
Приложения:
Ответы
Ответ дал:
0
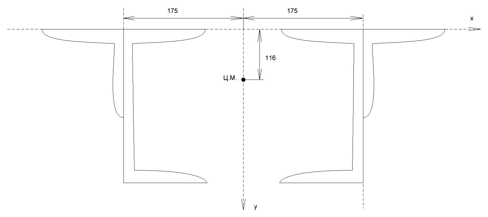
рисунок получается такой
Приложения:
Вас заинтересует
3 года назад
3 года назад
8 лет назад
11 лет назад
11 лет назад
11 лет назад