Си ++, помогите, пожалуйста, нужно написать программу с оператором while, которая будет включать пользовательскую функцию для вычисления значения z
Приложения:

iknowthatyoufeelbro:
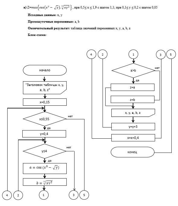
Числа в блок-схеме не соответствуют ограничениям "0.5<=x<=1.9 с шагом 1.1; 0.1<=y<=0.2 с шагом 0.05". Она приведена в качестве примера? Типа подставить свои значения.
Ответы
Ответ дал:
1
Ответ:
Исходник ниже.
Объяснение:
#include <iostream>
#include <cmath>
using namespace std;
int main(){
//"\t" - табуляция
//fixed - для вывода фиксированного количества знаков после запятой у вещественного числа
cout << "x\t\ty\t\ta\t\tb\t\tz" << endl;
double x = 0.5;
while(x <= 1.9){
double y = 0.1;
while(y <= 0.2){
double a = cos(x*x*x - sqrt(y));
double b = pow(x * y * y, 1.0 / 3);
double z;
if (a > b){
z = a;
}
else{
z = b;
}
cout << fixed << x << "\t" << y << "\t" << a << "\t" << b << "\t" << z << endl;
y += 0.05;
}
x += 1.1;
}
return 0;
}
Вас заинтересует
1 год назад
1 год назад
1 год назад
3 года назад
3 года назад
8 лет назад