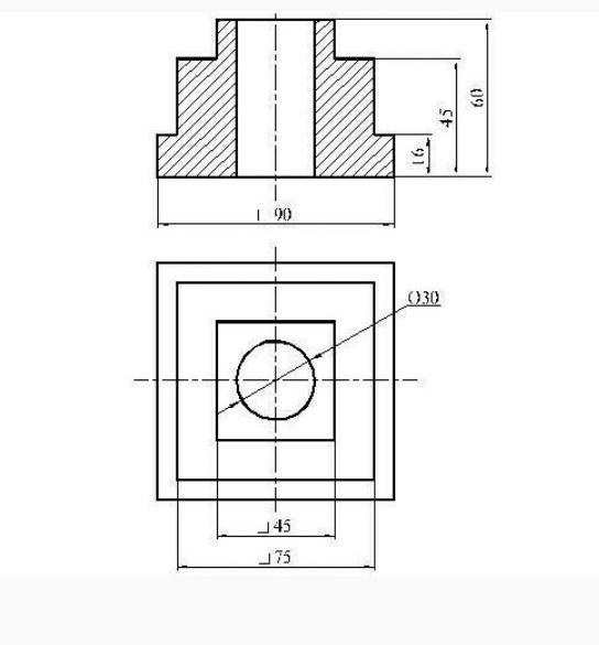
Как мне выполнить сечение(разрез) этой детали?
Покажите, где и как нужно провести линии, чтобы я мог сделать разрез по эскизу.
Приложения:

Ответы
Ответ дал:
0
Объяснение:
во вложении.............
Приложения:

Вас заинтересует
1 год назад
1 год назад
3 года назад
3 года назад
8 лет назад