Инженерная графика
Задание: Начертить фигуру в 6 проекциях и указать полезный разрез
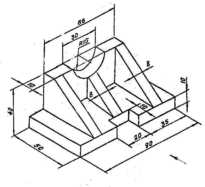
Помогите, пожалуйста, где здесь указать полезный разрез.
Вот в 6 проекциях сделано, но про разрез не понимаю


Ответы
Ответ: См. чертёж с разрезом на фото.
Объяснение:Сначала надо дочертить виды слева и справа, вид снизу и вид сзади по тем же правилам, что и привычные виды спереди, слева и сверху. Возможно, что размеры придётся разносить по всему чертежу, не оставляя какого-то вида без размеров, при этом они не должны повторяться.
Вид сверху неверен, его необходимо исправить.
Насчёт разреза вы правы, его надо делать по вертикали, мысленно разрезая деталь пополам, и на виде слева часть штриховых линий превратится в сплошные, а часть из них придётся стереть. Зона между сплошным контуром будет штриховаться там, где секущая плоскость каснулась поверхности детали.
Есть сомнения по поводу центральной треугольной опоры. Скорее всего её не надо будет штриховать, тогда заштрихованным будет только Г-образный контур, и линии, которые я стёрла , придётся восстановить. Это делается в тех случаях, когда опора узкая, и размер её ширины намного меньше размеров детали. Уточните этот момент.
