помогите с информатикой пожалуйста
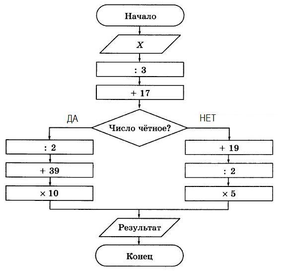
Выполните вычисления по блок-схеме, если Х=9
В ответ пишем только число.
Приложения:

Ответы
Ответ дал:
3
Ответ:
490
Объяснение:
НУ Я НА КОЛЕНКЕ СЧИТАЛ .
НЕ ЧЕТНОГО ВАРИАНТА НЕТУ
Ответ дал:
1
Ответ:
Объяснение:
Я не пойму, что тут считать. Задание второго класа.
X = 9
9 : 3 = 3
3 + 17 = 20
20 - четное число
20 : 2 = 10
10 + 39 = 49
49 * 10 = 490
Результат: 490.
Вас заинтересует
1 год назад
1 год назад
1 год назад
1 год назад
3 года назад
3 года назад
8 лет назад