Ответы
Ответ дал:
2
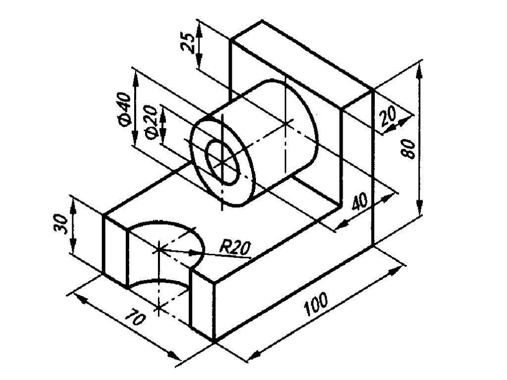
Ответ: Чертёж из 3-х проекций см. на фото.
Объяснение:
Чертёж выполнен от руки и с сохранением пропорций на глаз.
Вам необходимо выполнять эскиз на клетчатой бумаге и тоже от руки, с сохранением пропорций на глаз, а размеры проставить те, что указаны на аксонометрии детали.
Приложения:

Вас заинтересует
1 год назад
1 год назад
1 год назад
1 год назад
3 года назад
3 года назад
8 лет назад