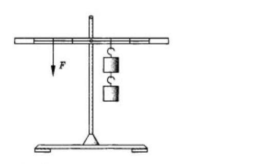
К рычагу приложена сила F, как показано на рисунке. Если одно деление шкалы соответствует 10 см, то плечо силы F равно
А) 10
В)20
С)30
D)40
Приложения:

Ответа на этот вопрос пока нет. Попробуйте найти его через форму поиска.
Вас заинтересует
2 года назад
3 года назад
3 года назад
8 лет назад
8 лет назад
9 лет назад