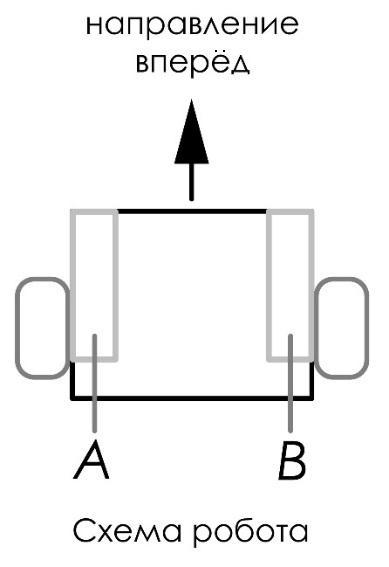
Робот оснащён двумя отдельно управляемыми колёсами, радиус каждого из колёс робота равен 8 см. Левым колесом управляет мотор А, правым колесом управляет мотор В. Колёса напрямую подсоединены к моторам (см. схему робота).
Траектория движения робота определяется различными режимами работы моторов. Режим работы мотора задаётся двумя параметрами:
направление вращения оси мотора:
«–» – вращение назад;
«+» – вращение вперёд;
«0» – отсутствует вращение;
количество градусов, на которое повернётся ось мотора.
Робот выезжает на перекрёсток (передней частью к перекрёстку), после чего он должен повернуть на 90° по часовой стрелке.
Максимальная скорость вращения моторов 2 об/с. Длина колёсной базы робота равна 40 см. Масса робота равна 5 кг.
Определите оптимальные режимы работы моторов А и В, при которых робот будет совершать поворот вокруг центра колёсной базы. В ответ для каждого мотора запишите число градусов со знаком,
например – 360, +120.
Приложения:

Ответы
Ответ дал:
0
Ответ:
и де вопрос??????????????
Вас заинтересует
2 года назад
2 года назад
3 года назад
3 года назад
8 лет назад
8 лет назад
9 лет назад