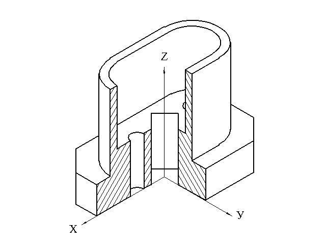
Помогите, нужно построить изометрическую проекцию чертежа, с открытым центром с штрихами,очень срочно.
Приложения:
Ответы
Ответ дал:
3
Ответ:
Объяснение:
++++++++++++++++++
Приложения:
Вас заинтересует
2 года назад
2 года назад
3 года назад
3 года назад
8 лет назад
8 лет назад
9 лет назад