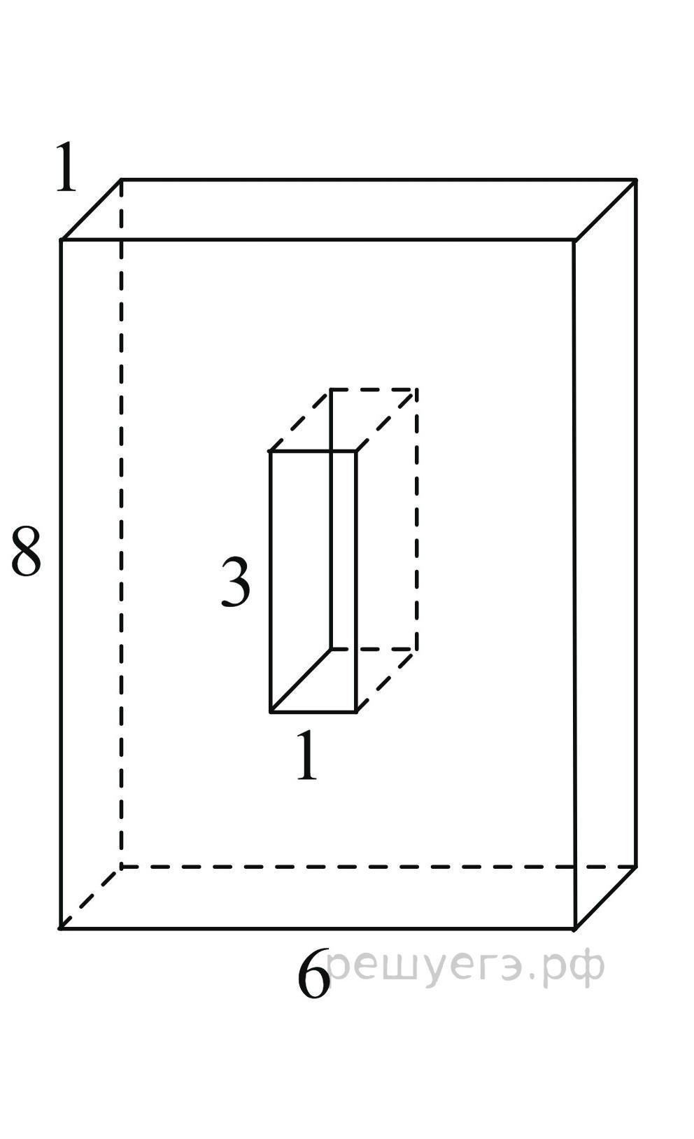
Найдите объем многогранника, изображенного на рисунке (все двугранные углы прямые).
Приложения:

Ответы
Ответ дал:
0
Ответ:
45
Пошаговое объяснение:
Vбольшого пар-да = 1*8*6 = 48
Vмалого пар-да = 1*1*3 = 3
Vфигуры = Vб - Vм = 48-3 = 45
Вас заинтересует
2 года назад
2 года назад
2 года назад
7 лет назад
7 лет назад
9 лет назад