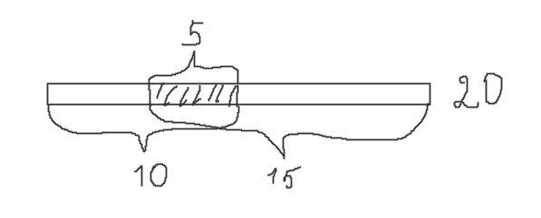
Костик дивився мультфільм 10 хвилин, з початку, але не до кінця. Через деякий час до нього приєдналася Іринка і дивилася цей мультфільм 15 хвилин, до кінця, але не з початку. Скільки часу діти разом дивилися мультфільм, якщо він тривав 20 хвилин?
Ответы
Ответ дал:
2
Ответ:
вместе дети смотрели 5 минут
Пошаговое объяснение:
в данном случае нужно найти пересечение время просмотра Костика и Иринки
10+15-20=5
если бы ответ получился отрицательным то это бы значило что Костик и Иринка не встретились за просмотром мультика.
Приложения:

Вас заинтересует
2 года назад
2 года назад
2 года назад
2 года назад
7 лет назад
7 лет назад
9 лет назад