Ответы
Ответ дал:
0
Ответ:
Объяснение:
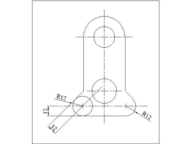
Показала все построение.
Обозначение S16 говорит о том, что толщина детали = 16 мм
Приложения:




Вас заинтересует
2 года назад
2 года назад
2 года назад
7 лет назад
9 лет назад
9 лет назад