• Предмет: Физика
  • Автор: rusakovwn
  • Вопрос задан 11 лет назад

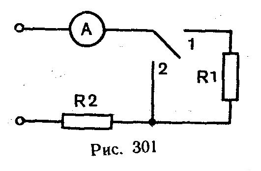
При замыкании переключателя в положение 1 (рис. 301)

амперметр показывает силу тока 1 А, а в положении 2 - силу тока 4 А.

Определите сопротивление каждого проводника,

если напряжение на зажимах цепи 12 В.

Приложения:

Ответы

Ответ дал: Artischew
0

R2=U2/I2

R=12/4=3 Om

R=U/I

R=12/1=12 Om

R=U/I

R1=12-3=9 Om

Вас заинтересует