черчение Задания к практической работе «Методы проецирования».
Прошу помочь,нужно сделать только 1 рисунок та что плоская.
ДАЮ 100 БАЛЛОВ!
Приложения:

Ответы
Ответ дал:
2
Ответ:
Объяснение:
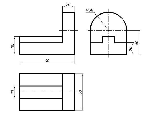
1. На чертеже задания изображен вид спереди - главный вид.
2. Ребро детали проецируется в натуральную величину, если ребро параллельно проецируемой плоскости.
В точку - ребро перпендикулярно проецируемой плоскости.
С искажением - ребро находится под углом к проецируемой плоскости (кроме 90°).
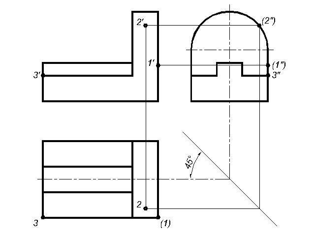
См. 4 чертеж:
Ребро красного цвета на видах спереди и сверху - натуральная величина, а на виде слева - точка.
Ребро синего цвета на видах спереди и слева - натуральная величина, а на виде сверху - точка.
Полукруг радиусом 30 мм - на виде слева - натуральная величина, а на видах спереди и сверху - прямые линии (искажение).
Приложения:




rafa20062006:
ты лучший!
Вас заинтересует
2 года назад
2 года назад
2 года назад
2 года назад
7 лет назад
7 лет назад
9 лет назад