Ответы
Ответ дал:
1
Ответ:
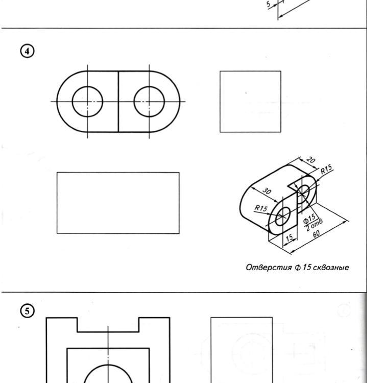
Чертёж детали из трёх видов с горизонтальным разрезом см. на фото.
Чертёж выполнялся от руки по заданным размерам.
Надеюсь, что смогла вам помочь.
Приложения:

Вас заинтересует
2 года назад
2 года назад
2 года назад
7 лет назад
7 лет назад