помогите составить блок-схему и программу паскаль
Cоставить программу, сообщающую о возможности
построения параллелограмма из отрезков X,Y,Z,T
Данные
1 , 2 , 1 , 2 можно
7 , 5 , 6 , 5 нельзя
Пожалуйста
Срочно
Надо
Ответы
Ответ дал:
0
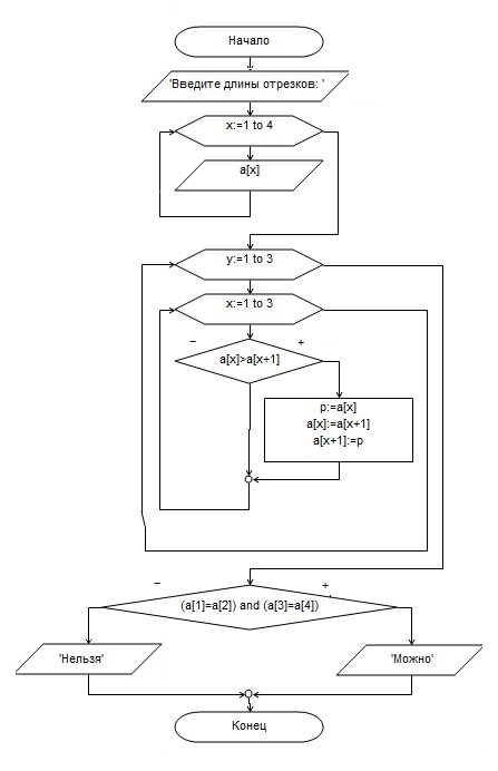
uses crt;
var a: array [1..4] of integer;
x,p,y:integer;
begin
writeln('Введите длины отрезков: ');
for x:=1 to 4 do
read(a[x]);
for y:=1 to 3 do
for x:=1 to 3 do
if a[x]>a[x+1] then
begin
p:=a[x];
a[x]:=a[x+1];
a[x+1]:=p;
end;
if (a[1]=a[2]) and (a[3]=a[4]) then writeln('Можно')
else writeln('Нельзя');
end.
var a: array [1..4] of integer;
x,p,y:integer;
begin
writeln('Введите длины отрезков: ');
for x:=1 to 4 do
read(a[x]);
for y:=1 to 3 do
for x:=1 to 3 do
if a[x]>a[x+1] then
begin
p:=a[x];
a[x]:=a[x+1];
a[x+1]:=p;
end;
if (a[1]=a[2]) and (a[3]=a[4]) then writeln('Можно')
else writeln('Нельзя');
end.
Приложения:

Ответ дал:
0
Правда у меня не отрезки сравниваются, и вообще у меня не отдельные числа, а массив. Но, в принципе, программа работает исправно. Если Вам скажут, что это неверно, гните свою линию, потому что входные и выходные данные полностью соответствуют условию.
Вас заинтересует
2 года назад
8 лет назад
8 лет назад
10 лет назад
10 лет назад