• Предмет: Физика
  • Автор: alibeksmlv
  • Вопрос задан 3 года назад

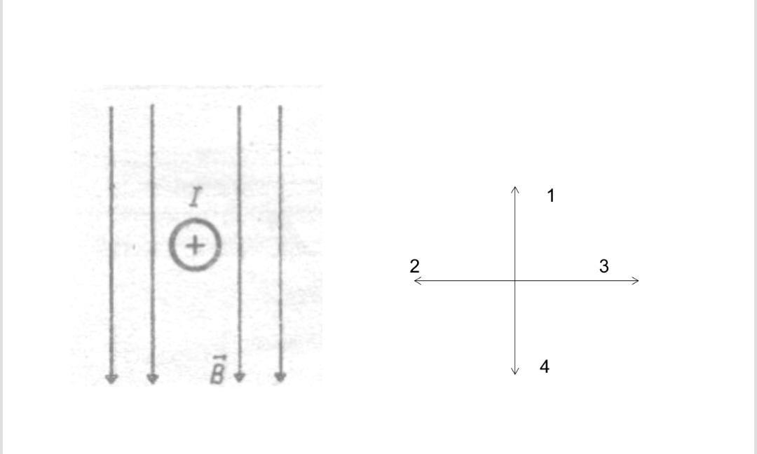
Определите направление силы Ампера.
Физика 10-11 класс

Приложения:

Ответы

Ответ дал: fatt52
2

Ответ:

1) 3     2) 2     3) слева N справа S    4) от наблюдателя  5) 2

Объяснение:

Вас заинтересует