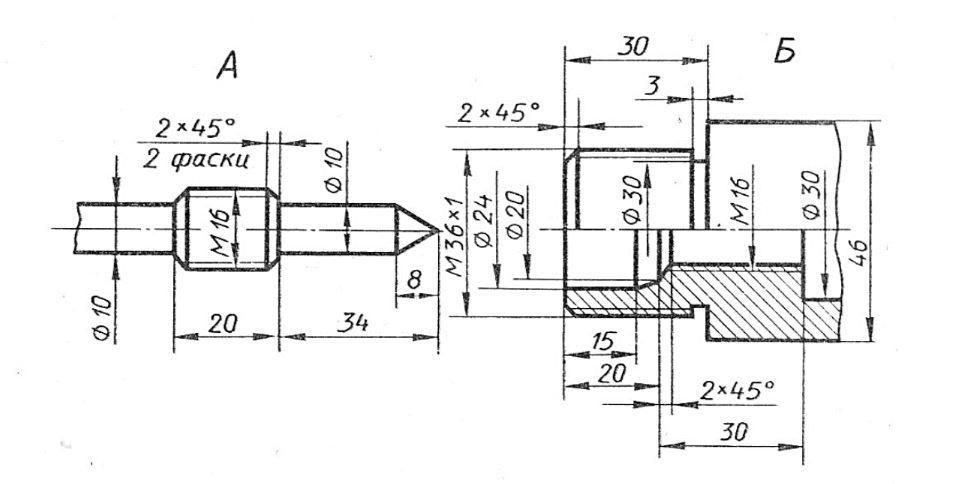
Начертить в масштабе 1:1 деталь А, ввернутой в деталь Б. Нанести габаритные размеры.
Надо как можно быстрее!!
Приложения:
Ответы
Ответ дал:
4
Ответ:
Объяснение:
Указала размеры, которые нужны для соединения с другими деталями. Габаритный размер по длине указать нет возможности, т.к. детали имеют линии обрыва.
Приложения:
Вас заинтересует
2 года назад
2 года назад
8 лет назад
8 лет назад
10 лет назад