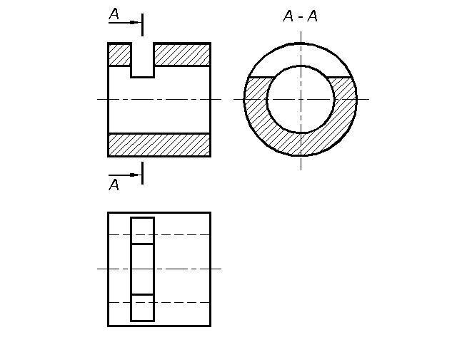
Начертите эскизы деталей, соблюдая пропорции и глазомерный масштаб. Выполните разрезы.
Приложения:

Ответы
Ответ дал:
1
Ответ:
Объяснение:
Сделала фронтальный и профильный разрезы.
Для такой детали, обычно, не чертят третий вид, но на всякий случай - я начертила.
Приложения:


msuteeva:
Большое спасибо! Вы мне очень помогли
Вас заинтересует
2 года назад
2 года назад
2 года назад
2 года назад
8 лет назад
9 лет назад
9 лет назад