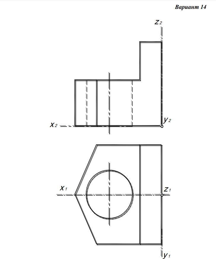
Выполнить графическую работу на формате А3 по своим размерам, по образцу. Формат расположить горизонтально, оформить по гост. Выполнить по двум видам, по заданным вами размерам, деталь в изометрии и диметрии.
Приложения:

Ответы
Ответ дал:
1
Ответ:
Объяснение:
Т.к. Вы не дали образца для оформления, выполнила чертеж на свое усмотрение.
Приложения:




Вас заинтересует
2 года назад
2 года назад
8 лет назад
8 лет назад
9 лет назад