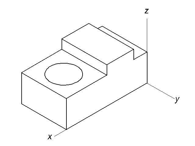
50 БАЛЛОВ!!! начертите объемную фигуру по эти 2 чертежам ( ИЗОМЕТРИЧЕСКАЯ ПРОЕКЦИЯ)
Приложения:

Ответы
Ответ дал:
2
Ответ:
Объяснение:
+++++++++++++++++++++++++
Приложения:


narineabraamyan7:
спасибо
Вас заинтересует
2 года назад
2 года назад
2 года назад
2 года назад
9 лет назад
9 лет назад