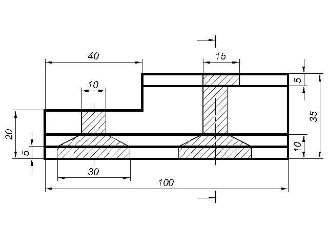
Начертить вид сверху, указать места разрезов, начертить вынесенные разрезы. Указать все размеры.
ПОЖАЛУЙСТА! СРОЧНО! даю 50 баллов!
Приложения:

Ответы
Ответ дал:
1
Ответ:
Объяснение:
+++++++++++++++++++++++++
Приложения:


Aishaexeshka:
Я испугался, когда зашёл тебе в ответы, мол, такой грамотей, а в ответах спам) я и не думал, что тут вложение)
Вас заинтересует
2 года назад
2 года назад
9 лет назад