ЧЕРЕЧЕНИЕ.
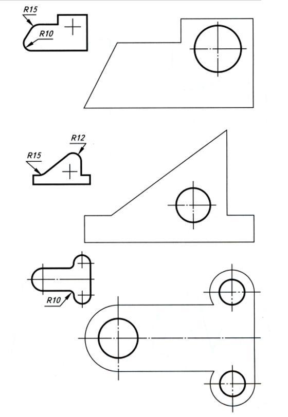
На чертежах справа отсутствует сопряжения. Постройте центры и точки сопряжения, выполните сопряжения по даннымна чертежах слева.
Приложения:
Ответы
Ответ дал:
2
Ответ:
Объяснение:
+++++++++++++++++++++
Приложения:
Вас заинтересует
2 года назад
2 года назад
3 года назад
3 года назад
8 лет назад
10 лет назад