Ответы
Ответ дал:
6
Ответ:
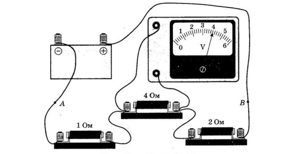
З малюнка бачимо, що вольтметр показує напругу на резисторі 4 Ом
4=I*4
I=1A
Ми знайшли сили струму в колі, а тепер знайдемо напругу на резисторі 2 Ом за формулою:
U=I*R=1*2=2 В
напруга на резисторі номіналом 2 Ом рівна 2 В
Решение с дано на фото!
Приложения:

qwsgpop:
можно дано ещё?
Вас заинтересует
2 года назад
2 года назад
2 года назад
8 лет назад
8 лет назад
9 лет назад