Ответы
Ответ дал:
1
Ответ:
Объяснение:
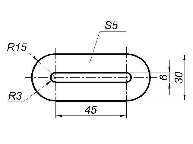
Третий чертеж: Для плоских деталей можно чертить только вид спереди. Обозначение S5 говорит, что толщина детали = 5 мм.
Приложения:



Вас заинтересует
2 года назад
2 года назад
2 года назад
8 лет назад
8 лет назад
9 лет назад