ФИЗИКА СИРИУС ПОМОГИТЕ!!!
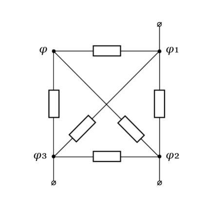
Определите значение потенциала φ узла фрагмента электрической цепи, состоящей из одинаковых резисторов, если известны потенциалы узлов φ1=24 В, φ2=6 В, φ3=0 В. Ответ выразите в вольтах, округлите до целого числа. В центре схемы узла нет.
Приложения:

IUV:
если что ответ 10
Ответы
Ответ дал:
2
Ответ:
10
Объяснение:
ответответответответответответответ: 10
Вас заинтересует
2 года назад
2 года назад
3 года назад
3 года назад
8 лет назад
9 лет назад