Ответы
1. Для перевода n-ричного числа в десятичное необходимо это число представить в виде суммы произведений степеней основания шестнадцатеричной системы счисления на соответствующие цифры в разрядах шестнадцатеричного числа.
Теперь вычислим исходное выражение, только уже с десятеричными числами:
Теперь нужно ответ перевести в восьмеричную систему счисления (для этого нужно делить число на 8 и запоминать остатки, у меня они находятся в круглых скобках):
Теперь остатки надо записать в обратном порядке:
Ответ:
2. Таблица истинности изображена на первой картинке.
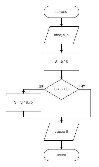
3.
Алгоритм на естественном языке:
1) Ввести цену единицы товара a и количество единиц товара b;
2) Вычислить стоимость покупки S по формуле: S = a * b;
3) Если стоимость покупки S будет больше 3000, убрать из суммы 25%, а именно умножить стоимость на 0,75: S = S * 0,75;
4) Вывести стоимость покупки S.
Блок-схема: изображена на второй картинке.

