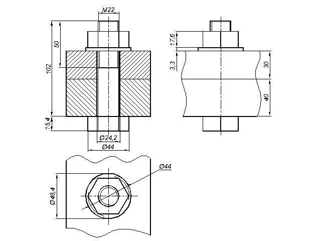
Инженерная графика. Даю 50 баллов. Выполнить три вида (вид спереди, вид слева и вид сверху) по упрощённому резьбовому соединению. на фото представлены данные упрощенного резьбового соединения, необходимые для построения.
Приложения:
Ответы
Ответ дал:
0
Четвертый чертеж в приложении - вид слева на выбор.
Приложения:
Вас заинтересует
2 года назад
3 года назад
3 года назад
8 лет назад
8 лет назад
10 лет назад