• Предмет: Физика
  • Автор: аня12345678393
  • Вопрос задан 11 лет назад

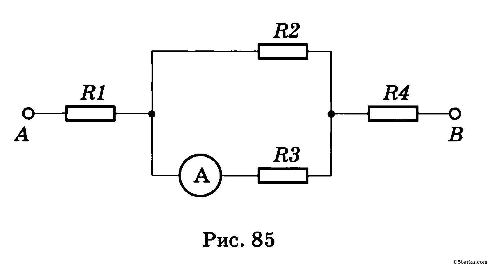
найдите распределение токов и напряжений на каждом сопротивлении если R1=20, R2=10,R3=15,R4=4 и амперметр показывает 2А. какое напряжение между точками?

Ответы

Ответ дал: ужнеужели
0

Нашел схему, она во вложении. Еще одна возможная ошибка R1=2 ома, а не 20 ом. Решил для обоих случаев.

Приложения:
Вас заинтересует